В наличии демонстрационные модели кранов грузоподъёмностью от 100 до 750 тонн за 50% от стоимости!!!
Гусеничный кран QUY-320

Гусеничный кран QUY-320

Основные характеристики
  • Грузоподъемность: 320 т
  • Длина тяжелой основной стрелы: 24 – 84 м
  • Длина удлинённой основной стрелы: 42 – 108 м
  • Длина стрелы для монтажа ветрогенераторов: 30 – 84 м
  • Длина жесткомонтируемого гуська: 30 – 84 м
  • Длина маневрового гуська: 24 – 72 м
Основные преимущества
  • СТРЕЛА ИЗ НЕМЕЦКОЙ ВЫСОКОПРОЧНОЙ СТАЛИ
  • ВОЗМОЖНОСТЬ ПЕРЕДВИЖЕНИЯ КРАНА С ГРУЗОМ ПО СТРОИТЕЛЬНОЙ ПЛОЩАДКЕ
  • КОМПЛЕКТУЮЩИЕ КРАНА ИМПОРТНОГО ПРОИЗВОДСТВА (ЯПОНИЯ, ГЕРМАНИЯ, США), ЧТО ПОДТВЕРЖДАЕТ ВЫСОКОЕ КАЧЕСТВО КРАНА
  • ТЕМПЕРАТУРНЫЙ РЕЖИМ -40°С
  • ВОЗМОЖНОСТЬ РАБОТЫ КРАНА С ДОПОЛНИТЕЛЬНЫМ ОБОРУДОВАНИЕМ
  • РУСИФИКАЦИЯ ПРИБОРОВ УПРАВЛЕНИЯ КРАНОМ (УПРАВЛЕНИЕ КРАНОМ НА РУССКОМ ЯЗЫКЕ)
  • СУПЕР-ЛИФТ
  • СТРЕЛА ДЛЯ МОНТАЖА ВЕТРОГЕНЕРАТОРА
Гусеничный кран QUY-320

Гусеничный кран QUY-320

Технические характеристики
Грузовысотные характеристики
Габариты
Транспортировка
Конфигурация

Характеристики

Характеристики
Значение
Ед.изм.
Грузоподъемность
320
т
Макс.грузовой момент
244,2 х 18 = 4395,6
т*м
Макс. грузоподъемность тяжелой основной стрелы
320 х 5.3м (длина стрелы 24м)
т
Макс. грузоподъемность стрелы для монтажа ветрогенераторов
80
т
Макс. грузоподъемность удлинённой основной стрелы
160.5 х 9м
т
Макс. грузоподъемность жесткомонтируемого гуська
107 х 8м
т
Длина основной стрелы маневрового гуська
30 – 72
м
Макс. грузоподъемность маневрового гуська
132 х 13м
т
Длина мачты суперлифт (sl)
30
м
Радиус поворота мачты суперлифт (sl)
11.5, 13.5, 15.5
м
Противовесы мачты sl
0, 50, 100, 150, 200
т
Радиус поворота противовесов мачты sl
11, 13, 15
м
Длина тяжёлой основной стрелы
30 - 84
м
Грузоподъёмность тяжёлой основной стрелы
290.6 × 6м (длина стрелы 30м)
т
Длина комбинированной стрелы
78 - 108
м
Грузоподъёмность комбинированной стрелы
145.1 х 11м
т
Длина стрелы стационарного гуська
36 - 84
м
Длина стационарного гуська
18 - 30
м
Грузоподъёмность стационарного гуська
106.2 × 11м
т
Крюкоблоки
15, 70, 100, 160, 320
т
Скорость основной и вспомогательной лебедок
0 - 118
м/мин
Скорость подъема/опускания стрелы
39
м/мин
Скорость изменения вылета маневрового гуська
0 - 72
м/мин
Скорость поворота
0 - 1.12
об/мин
Скорость передвижения
0 - 1.05
км/ч
Максимальный преодолеваемый подъём
30 (16.7°)
%
Угол изменения вылета основной стрелы
30 ~ 85
град
Длина тяжелой основной стрелы
24 – 84
м
Длина стрелы для монтажа ветрогенераторов
30 – 84
м
Длина удлинённой основной стрелы
42 – 108
м
Длина жесткомонтируемого гуська
30 – 84
м
Длина маневрового гуська
24 – 72
м
Угол изменения вылета основной стрелы с маневровым гуськом
65, 75, 85
град
Тип двигателя
Cummins qsm11
тип
Мощность двигателя
298/405
квт/лс
Габаритные размеры крана (д х ш х в)
10500 х 8450 х 4260
мм

Грузовысотные характеристики

Грузовысотные характеристики

Габариты

Габариты

Транспортировка

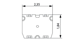
Кусок контргруза
Кусок контргруза x32
Длина
2.35 м
Ширина
1.84 м
Высота
0.47 м
Вес
10000 кг
Основание основной стрелы
Основание основной стрелы x1
Длина
10.81 м
Ширина
2.87 м
Высота
2.81 м
Вес
6066 кг
Промежуточная секция основной стрелы 6 м
Промежуточная секция основной стрелы 6 м x2
Длина
6.17 м
Ширина
2.86 м
Высота
2.49 м
Вес
1883 кг
Промежуточная секция основной стрелы 12 м (A)
Промежуточная секция основной стрелы 12 м (A) x1
Длина
12.17 м
Ширина
2.86 м
Высота
2.49 м
Вес
3481 кг
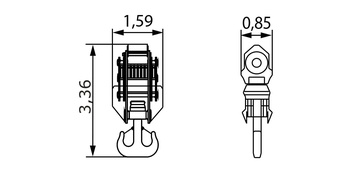
Крюк 200 т
Крюк 200 т x1
Длина
3.36 м
Ширина
0.85 м
Высота
1.59 м
Вес
4900 кг
Тело крана
Тело крана x1
Длина
14.02 м
Ширина
2.99 м
Высота
3.13 м
Вес
57000 кг
Гусеницы (в сборе)
Гусеницы (в сборе) x2
Длина
10.50 м
Ширина
1.35 м
Высота
1.50 м
Вес
28000 кг
Поднос контргруза
Поднос контргруза x1
Длина
6.70 м
Ширина
2.35 м
Высота
0.38 м
Вес
24000 кг
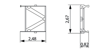
Полка балласта субструктуры
Полка балласта субструктуры x2
Длина
2.48 м
Ширина
2.67 м
Высота
0.82 м
Вес
2000 кг
Промежуточная секция основной стрелы 12 м (B)
Промежуточная секция основной стрелы 12 м (B) x2
Длина
12.17 м
Ширина
2.86 м
Высота
2.49 м
Вес
3145 кг
Промежуточная секция основной стрелы 12 м (D)
Промежуточная секция основной стрелы 12 м (D) x1
Длина
12.17 м
Ширина
2.86 м
Высота
2.49 м
Вес
3438 кг
Уменьшающая секция основной стрелы 12 м
Уменьшающая секция основной стрелы 12 м x1
Длина
12.17 м
Ширина
2.88 м
Высота
2.60 м
Вес
3972 кг
Оголовок основной стрелы
Оголовок основной стрелы x1
Длина
2.22 м
Ширина
2.57 м
Высота
2.86 м
Вес
2939 кг
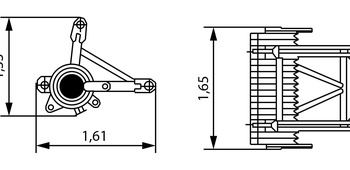
Подъёмный блок основной стрелы
Подъёмный блок основной стрелы x1
Длина
1.61 м
Ширина
1.65 м
Высота
1.33 м
Вес
1300 кг
Крюк 160 т
Крюк 160 т x1
Длина
2.26 м
Ширина
0.80 м
Высота
1.09 м
Вес
4600 кг
Тяжелый дополнительный шкив
Тяжелый дополнительный шкив x1
Длина
8.93 м
Ширина
1.20 м
Высота
1.86 м
Вес
2308 кг
Основание башенной стрелы
Основание башенной стрелы x1
Длина
4.94 м
Ширина
2.56 м
Высота
2.11 м
Вес
1483 кг
Промежуточная секция башенной стрелы 6 м
Промежуточная секция башенной стрелы 6 м x2
Длина
6.15 м
Ширина
2.47 м
Высота
2.04 м
Вес
1400 кг
Промежуточная секция башенной стрелы 12 м
Промежуточная секция башенной стрелы 12 м x5
Длина
12.15 м
Ширина
2.47 м
Высота
2.04 м
Вес
2400 кг
Клиновидная секция
Клиновидная секция x1
Длина
8.05 м
Ширина
2.48 м
Высота
2.63 м
Вес
2972 кг
Передняя опора башенной стрелы
Передняя опора башенной стрелы x1
Длина
14.97 м
Ширина
1.44 м
Высота
1.14 м
Вес
2538 кг
Задняя опора башенной стрелы
Задняя опора башенной стрелы x1
Длина
15.70 м
Ширина
2.54 м
Высота
1.55 м
Вес
4408 кг
Основание стационарного гуська
Основание стационарного гуська x1
Длина
4.70 м
Ширина
1.66 м
Высота
1.74 м
Вес
756 кг
Промежуточная секция стационарного гуська 6 м
Промежуточная секция стационарного гуська 6 м x1
Длина
6.16 м
Ширина
1.60 м
Высота
1.72 м
Вес
715 кг
Промежуточная секция стационарного гуська 12 м
Промежуточная секция стационарного гуська 12 м x1
Длина
12.16 м
Ширина
1.60 м
Высота
1.72 м
Вес
1325 кг
Клиновидная секция стационарного гуська
Клиновидная секция стационарного гуська x1
Длина
7.98 м
Ширина
1.60 м
Высота
1.82 м
Вес
1854 кг
Опора стационарного гуська
Опора стационарного гуська x1
Длина
6.19 м
Ширина
1.37 м
Высота
0.76 м
Вес
1450 кг
Основание супер-подъёмной мачты
Основание супер-подъёмной мачты x1
Длина
6.28 м
Ширина
2.49 м
Высота
2.60 м
Вес
7500 кг
Промежуточная секция супер-подъёмной мачты 12 м
Промежуточная секция супер-подъёмной мачты 12 м x1
Длина
12.16 м
Ширина
2.47 м
Высота
2.14 м
Вес
2400 кг
Клиновидная секция супер-подъёмной мачты
Клиновидная секция супер-подъёмной мачты x1
Длина
12.40 м
Ширина
2.47 м
Высота
2.23 м
Вес
6500 кг
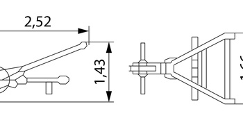
Дополнительный шкив
Дополнительный шкив x1
Длина
2.52 м
Ширина
1.66 м
Высота
1.43 м
Вес
10680 кг
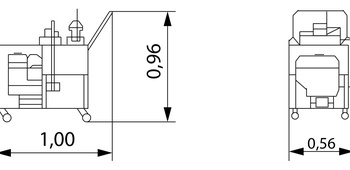
Станция подвижного насоса
Станция подвижного насоса x1
Длина
1.00 м
Ширина
0.56 м
Высота
0.96 м
Вес
110 кг
Вспомогательная тачка
Вспомогательная тачка x1
Длина
2.99 м
Ширина
2.22 м
Высота
1.12 м
Вес
1610 кг
Крюк 320 т
Крюк 320 т x1
Длина
3.36 м
Ширина
0.90 м
Высота
1.69 м
Вес
7600 кг
Крюк 100 т
Крюк 100 т x1
Длина
2.09 м
Ширина
0.76 м
Высота
0.89 м
Вес
3600 кг
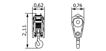
Крюк 70 т
Крюк 70 т x1
Длина
2.11 м
Ширина
0.76 м
Высота
0.62 м
Вес
3000 кг
Крюк 15 т
Крюк 15 т x1
Длина
1.12 м
Ширина
0.46 м
Высота
0.46 м
Вес
800 кг
Конфигурация-1 (QUY-320)
Конфигурация-2 (QUY-320)
Конфигурация-3 (QUY-320)
Конфигурация-4 (QUY-320)
Конфигурация-5 (QUY-320)
Конфигурация-6 (QUY-320)
Конфигурация-7 (QUY-320)
ТЕХНИЧЕСКИЕ ХАРАКТЕРИСТИКИ КРАНА (МАКСИМАЛЬНАЯ ДЛИНА СТРЕЛЫ)

ТЕХНИЧЕСКИЕ ХАРАКТЕРИСТИКИ КРАНА (МАКСИМАЛЬНАЯ ДЛИНА СТРЕЛЫ)

Комбинации основной стрелы

24 м
Основание стрелы (ZB1) -> 10.5 Уменьшающаяся секция стрелы (ZB4) -> 12 Оголовок стрелы (ZB5) -> 1.5
30 м
Основание стрелы (ZB1) -> 10.5 Промежуточная секция стрелы 6м (ZB2) -> 6 Уменьшающаяся секция стрелы (ZB4) -> 12 Оголовок стрелы (ZB5) -> 1.5
36 м
Основание стрелы (ZB1) -> 10.5 Промежуточная секция стрелы 6м (ZB2) -> 6 Промежуточная секция стрелы 6м (ZB2) -> 6 Уменьшающаяся секция стрелы (ZB4) -> 12 Оголовок стрелы (ZB5) -> 1.5
42 м
Основание стрелы (ZB1) -> 10.5 Промежуточная секция стрелы 12м C (ZB12-C) -> 12 Промежуточная секция стрелы 6м (ZB2) -> 6 Уменьшающаяся секция стрелы (ZB4) -> 12 Оголовок стрелы (ZB5) -> 1.5
48 м
Основание стрелы (ZB1) -> 10.5 Промежуточная секция стрелы 12м C (ZB12-C) -> 12 Промежуточная секция стрелы 6м (ZB2) -> 6 Промежуточная секция стрелы 6м (ZB2) -> 6 Уменьшающаяся секция стрелы (ZB4) -> 12 Оголовок стрелы (ZB5) -> 1.5
54 м
Основание стрелы (ZB1) -> 10.5 Промежуточная секция стрелы 12м C (ZB12-C) -> 12 Промежуточная секция стрелы 12м A (ZB12-A) -> 12 Промежуточная секция стрелы 6м (ZB2) -> 6 Уменьшающаяся секция стрелы (ZB4) -> 12 Оголовок стрелы (ZB5) -> 1.5
60 м
Основание стрелы (ZB1) -> 10.5 Промежуточная секция стрелы 12м C (ZB12-C) -> 12 Промежуточная секция стрелы 12м A (ZB12-A) -> 12 Промежуточная секция стрелы 6м (ZB2) -> 6 Промежуточная секция стрелы 6м (ZB2) -> 6 Уменьшающаяся секция стрелы (ZB4) -> 12 Оголовок стрелы (ZB5) -> 1.5
66 м
Основание стрелы (ZB1) -> 10.5 Промежуточная секция стрелы 12м C (ZB12-C) -> 12 Промежуточная секция стрелы 12м A (ZB12-A) -> 12 Промежуточная секция стрелы 6м (ZB2) -> 6 Промежуточная секция стрелы 12м B (ZB12-B) -> 12 Уменьшающаяся секция стрелы (ZB4) -> 12 Оголовок стрелы (ZB5) -> 1.5
72 м
Основание стрелы (ZB1) -> 10.5 Промежуточная секция стрелы 12м C (ZB12-C) -> 12 Промежуточная секция стрелы 12м A (ZB12-A) -> 12 Промежуточная секция стрелы 6м (ZB2) -> 6 Промежуточная секция стрелы 6м (ZB2) -> 6 Промежуточная секция стрелы 12м B (ZB12-B) -> 12 Уменьшающаяся секция стрелы (ZB4) -> 12 Оголовок стрелы (ZB5) -> 1.5
78 м
Основание стрелы (ZB1) -> 10.5 Промежуточная секция стрелы 12м C (ZB12-C) -> 12 Промежуточная секция стрелы 12м A (ZB12-A) -> 12 Промежуточная секция стрелы 6м (ZB2) -> 6 Промежуточная секция стрелы 12м B (ZB12-B) -> 12 Промежуточная секция стрелы 12м B (ZB12-B) -> 12 Уменьшающаяся секция стрелы (ZB4) -> 12 Оголовок стрелы (ZB5) -> 1.5
84 м
Основание стрелы (ZB1) -> 10.5 Промежуточная секция стрелы 12м C (ZB12-C) -> 12 Промежуточная секция стрелы 12м A (ZB12-A) -> 12 Промежуточная секция стрелы 6м (ZB2) -> 6 Промежуточная секция стрелы 6м (ZB2) -> 6 Промежуточная секция стрелы 12м B (ZB12-B) -> 12 Промежуточная секция стрелы 12м B (ZB12-B) -> 12 Уменьшающаяся секция стрелы (ZB4) -> 12 Оголовок стрелы (ZB5) -> 1.5

Размеры секций основной стрелы

Знак
Длинна стрелы
Примечание
Основание стрелы
10.5 м
Основание стрелы
Уменьшающаяся секция стрелы
12 м
Уменьшающаяся секция стрелы
Оголовок стрелы
1.5 м
Оголовок стрелы
Промежуточная секция стрелы 6м
6 м
Промежуточная секция стрелы 6м
Промежуточная секция стрелы 12м C
12 м
Промежуточная секция стрелы 12м C
Промежуточная секция стрелы 12м A
12 м
Промежуточная секция стрелы 12м A
Промежуточная секция стрелы 12м B
12 м
Промежуточная секция стрелы 12м B
ТЕХНИЧЕСКИЕ ХАРАКТЕРИСТИКИ КРАНА (КОМБИНАЦИЯ СЕКЦИЙ СТРЕЛЫ В РАБОЧЕМ РЕЖИМЕ ТЯЖЕЛОЙ ОСНОВНОЙ СТРЕЛЫ + СУПЕР-ПОДЪЕМНАЯ МАЧТА + СУПЕР-ПОДЪЕМНЫЙ КОНТРГРУЗ)

ТЕХНИЧЕСКИЕ ХАРАКТЕРИСТИКИ КРАНА (КОМБИНАЦИЯ СЕКЦИЙ СТРЕЛЫ В РАБОЧЕМ РЕЖИМЕ ТЯЖЕЛОЙ ОСНОВНОЙ СТРЕЛЫ + СУПЕР-ПОДЪЕМНАЯ МАЧТА + СУПЕР-ПОДЪЕМНЫЙ КОНТРГРУЗ)

Комбинации основной стрелы

30 м
Основание стрелы (ZB1) -> 10.5 Промежуточная секция стрелы 6м (ZB2) -> 6 Уменьшающаяся секция стрелы (ZB4) -> 12 Оголовок стрелы (ZB5) -> 1.5
36 м
Основание стрелы (ZB1) -> 10.5 Промежуточная секция стрелы 6м (ZB2) -> 6 Промежуточная секция стрелы 6м (ZB2) -> 6 Уменьшающаяся секция стрелы (ZB4) -> 12 Оголовок стрелы (ZB5) -> 1.5
42 м
Основание стрелы (ZB1) -> 10.5 Промежуточная секция стрелы 12м C (ZB12-C) -> 12 Промежуточная секция стрелы 6м (ZB2) -> 6 Уменьшающаяся секция стрелы (ZB4) -> 12 Оголовок стрелы (ZB5) -> 1.5
48 м
Основание стрелы (ZB1) -> 10.5 Промежуточная секция стрелы 12м C (ZB12-C) -> 12 Промежуточная секция стрелы 6м (ZB2) -> 6 Промежуточная секция стрелы 6м (ZB2) -> 6 Уменьшающаяся секция стрелы (ZB4) -> 12 Оголовок стрелы (ZB5) -> 1.5
54 м
Основание стрелы (ZB1) -> 10.5 Промежуточная секция стрелы 12м C (ZB12-C) -> 12 Промежуточная секция стрелы 12м A (ZB12-A) -> 12 Промежуточная секция стрелы 6м (ZB2) -> 6 Уменьшающаяся секция стрелы (ZB4) -> 12 Оголовок стрелы (ZB5) -> 1.5
60 м
Основание стрелы (ZB1) -> 10.5 Промежуточная секция стрелы 12м C (ZB12-C) -> 12 Промежуточная секция стрелы 12м A (ZB12-A) -> 12 Промежуточная секция стрелы 6м (ZB2) -> 6 Промежуточная секция стрелы 6м (ZB2) -> 6 Уменьшающаяся секция стрелы (ZB4) -> 12 Оголовок стрелы (ZB5) -> 1.5
66 м
Основание стрелы (ZB1) -> 10.5 Промежуточная секция стрелы 12м C (ZB12-C) -> 12 Промежуточная секция стрелы 12м A (ZB12-A) -> 12 Промежуточная секция стрелы 6м (ZB2) -> 6 Промежуточная секция стрелы 12м B (ZB12-B) -> 12 Уменьшающаяся секция стрелы (ZB4) -> 12 Оголовок стрелы (ZB5) -> 1.5
72 м
Основание стрелы (ZB1) -> 10.5 Промежуточная секция стрелы 12м C (ZB12-C) -> 12 Промежуточная секция стрелы 12м A (ZB12-A) -> 12 Промежуточная секция стрелы 6м (ZB2) -> 6 Промежуточная секция стрелы 6м (ZB2) -> 6 Промежуточная секция стрелы 12м B (ZB12-B) -> 12 Уменьшающаяся секция стрелы (ZB4) -> 12 Оголовок стрелы (ZB5) -> 1.5
78 м
Основание стрелы (ZB1) -> 10.5 Промежуточная секция стрелы 12м C (ZB12-C) -> 12 Промежуточная секция стрелы 12м A (ZB12-A) -> 12 Промежуточная секция стрелы 6м (ZB2) -> 6 Промежуточная секция стрелы 12м B (ZB12-B) -> 12 Промежуточная секция стрелы 12м B (ZB12-B) -> 12 Уменьшающаяся секция стрелы (ZB4) -> 12 Оголовок стрелы (ZB5) -> 1.5
84 м
Основание стрелы (ZB1) -> 10.5 Промежуточная секция стрелы 12м C (ZB12-C) -> 12 Промежуточная секция стрелы 12м A (ZB12-A) -> 12 Промежуточная секция стрелы 6м (ZB2) -> 6 Промежуточная секция стрелы 6м (ZB2) -> 6 Промежуточная секция стрелы 12м B (ZB12-B) -> 12 Промежуточная секция стрелы 12м B (ZB12-B) -> 12 Уменьшающаяся секция стрелы (ZB4) -> 12 Оголовок стрелы (ZB5) -> 1.5

Размеры секций основной стрелы

Знак
Длинна стрелы
Примечание
Основание стрелы
10.5 м
Основание стрелы
Уменьшающаяся секция стрелы
12 м
Уменьшающаяся секция стрелы
Оголовок стрелы
1.5 м
Оголовок стрелы
Промежуточная секция стрелы 6м
6 м
Промежуточная секция стрелы 6м
Промежуточная секция стрелы 12м C
12 м
Промежуточная секция стрелы 12м C
Промежуточная секция стрелы 12м A
12 м
Промежуточная секция стрелы 12м A
Промежуточная секция стрелы 12м B
12 м
Промежуточная секция стрелы 12м B
ТЕХНИЧЕСКИЕ ХАРАКТЕРИСТИКИ КРАНА (СТРЕЛА ТЯЖЕЛАЯ И ЛЕГКАЯ)

ТЕХНИЧЕСКИЕ ХАРАКТЕРИСТИКИ КРАНА (СТРЕЛА ТЯЖЕЛАЯ И ЛЕГКАЯ)

Комбинации основной стрелы

42 м
Основание стрелы (ZB1-1) -> 10.5 Уменьшающаяся секция стрелы (ZB4-1) -> 12 Промежуточная секция лёгкой стрелы 6м (HTT) -> 6 Промежуточная секция башенной стрелы 6м (TB3) -> 6 Клиновидная секция башенной стрелы (TB4) -> 7.5
48 м
Основание стрелы (ZB1-1) -> 10.5 Промежуточная секция стрелы 6м (ZB2-1) -> 6 Уменьшающаяся секция стрелы (ZB4-1) -> 12 Промежуточная секция лёгкой стрелы 6м (HTT) -> 6 Промежуточная секция башенной стрелы 6м (TB3) -> 6 Клиновидная секция башенной стрелы (TB4) -> 7.5
54 м
Основание стрелы (ZB1-1) -> 10.5 Промежуточная секция стрелы 6м (ZB2-1) -> 6 Промежуточная секция стрелы 6м (ZB2-1) -> 6 Уменьшающаяся секция стрелы (ZB4-1) -> 12 Промежуточная секция лёгкой стрелы 6м (HTT) -> 6 Промежуточная секция башенной стрелы 6м (TB3) -> 6 Клиновидная секция башенной стрелы (TB4) -> 7.5
60 м
Основание стрелы (ZB1-1) -> 10.5 Промежуточная секция стрелы 12м C (ZB12-C-1) -> 12 Промежуточная секция стрелы 6м (ZB2-1) -> 6 Уменьшающаяся секция стрелы (ZB4-1) -> 12 Промежуточная секция лёгкой стрелы 6м (HTT) -> 6 Промежуточная секция башенной стрелы 6м (TB3) -> 6 Клиновидная секция башенной стрелы (TB4) -> 7.5
66 м
Основание стрелы (ZB1-1) -> 10.5 Промежуточная секция стрелы 12м C (ZB12-C-1) -> 12 Промежуточная секция стрелы 6м (ZB2-1) -> 6 Промежуточная секция стрелы 6м (ZB2-1) -> 6 Уменьшающаяся секция стрелы (ZB4-1) -> 12 Промежуточная секция лёгкой стрелы 6м (HTT) -> 6 Промежуточная секция башенной стрелы 6м (TB3) -> 6 Клиновидная секция башенной стрелы (TB4) -> 7.5
72 м
Основание стрелы (ZB1-1) -> 10.5 Промежуточная секция стрелы 12м C (ZB12-C-1) -> 12 Промежуточная секция стрелы 12м A (ZB12-A-1) -> 12 Промежуточная секция стрелы 6м (ZB2-1) -> 6 Уменьшающаяся секция стрелы (ZB4-1) -> 12 Промежуточная секция лёгкой стрелы 6м (HTT) -> 6 Промежуточная секция башенной стрелы 6м (TB3) -> 6 Клиновидная секция башенной стрелы (TB4) -> 7.5
78 м
Основание стрелы (ZB1-1) -> 10.5 Промежуточная секция стрелы 12м C (ZB12-C-1) -> 12 Промежуточная секция стрелы 12м A (ZB12-A-1) -> 12 Промежуточная секция стрелы 6м (ZB2-1) -> 6 Промежуточная секция стрелы 6м (ZB2-1) -> 6 Уменьшающаяся секция стрелы (ZB4-1) -> 12 Промежуточная секция лёгкой стрелы 6м (HTT) -> 6 Промежуточная секция башенной стрелы 6м (TB3) -> 6 Клиновидная секция башенной стрелы (TB4) -> 7.5
84 м
Основание стрелы (ZB1-1) -> 10.5 Промежуточная секция стрелы 12м C (ZB12-C-1) -> 12 Промежуточная секция стрелы 12м A (ZB12-A-1) -> 12 Промежуточная секция стрелы 6м (ZB2-1) -> 6 Промежуточная секция стрелы 6м (ZB2-1) -> 6 Уменьшающаяся секция стрелы (ZB4-1) -> 12 Промежуточная секция лёгкой стрелы 6м (HTT) -> 6 Промежуточная секция башенной стрелы 6м (TB3) -> 6 Промежуточная секция башенной стрелы 6м (TB3) -> 6 Клиновидная секция башенной стрелы (TB4) -> 7.5
90 м
Основание стрелы (ZB1-1) -> 10.5 Промежуточная секция стрелы 12м C (ZB12-C-1) -> 12 Промежуточная секция стрелы 12м A (ZB12-A-1) -> 12 Промежуточная секция стрелы 6м (ZB2-1) -> 6 Промежуточная секция стрелы 6м (ZB2-1) -> 6 Уменьшающаяся секция стрелы (ZB4-1) -> 12 Промежуточная секция лёгкой стрелы 6м (HTT) -> 6 Промежуточная секция башенной стрелы 6м (TB3) -> 6 Промежуточная секция башенной стрелы 12м B (TB12-B) -> 12 Клиновидная секция башенной стрелы (TB4) -> 7.5
96 м
Основание стрелы (ZB1-1) -> 10.5 Промежуточная секция стрелы 12м C (ZB12-C-1) -> 12 Промежуточная секция стрелы 12м A (ZB12-A-1) -> 12 Промежуточная секция стрелы 6м (ZB2-1) -> 6 Промежуточная секция стрелы 6м (ZB2-1) -> 6 Промежуточная секция стрелы 12м B (ZB12-B-1) -> 12 Уменьшающаяся секция стрелы (ZB4-1) -> 12 Промежуточная секция лёгкой стрелы 6м (HTT) -> 6 Промежуточная секция башенной стрелы 12м B (TB12-B) -> 12 Клиновидная секция башенной стрелы (TB4) -> 7.5
102 м
Основание стрелы (ZB1-1) -> 10.5 Промежуточная секция стрелы 12м C (ZB12-C-1) -> 12 Промежуточная секция стрелы 12м A (ZB12-A-1) -> 12 Промежуточная секция стрелы 6м (ZB2-1) -> 6 Промежуточная секция стрелы 6м (ZB2-1) -> 6 Промежуточная секция стрелы 12м B (ZB12-B-1) -> 12 Уменьшающаяся секция стрелы (ZB4-1) -> 12 Промежуточная секция лёгкой стрелы 6м (HTT) -> 6 Промежуточная секция башенной стрелы 6м (TB3) -> 6 Промежуточная секция башенной стрелы 12м B (TB12-B) -> 12 Клиновидная секция башенной стрелы (TB4) -> 7.5
108 м
Основание стрелы (ZB1-1) -> 10.5 Промежуточная секция стрелы 12м C (ZB12-C-1) -> 12 Промежуточная секция стрелы 12м A (ZB12-A-1) -> 12 Промежуточная секция стрелы 6м (ZB2-1) -> 6 Промежуточная секция стрелы 6м (ZB2-1) -> 6 Промежуточная секция стрелы 12м B (ZB12-B-1) -> 12 Уменьшающаяся секция стрелы (ZB4-1) -> 12 Промежуточная секция лёгкой стрелы 6м (HTT) -> 6 Промежуточная секция башенной стрелы 6м (TB3) -> 6 Промежуточная секция башенной стрелы 12м B (TB12-B) -> 12 Промежуточная секция башенной стрелы 6м (TB3) -> 6 Клиновидная секция башенной стрелы (TB4) -> 7.5

Размеры секций основной стрелы

Знак
Длинна стрелы
Примечание
Основание стрелы
10.5 м
Основание стрелы
Уменьшающаяся секция стрелы
12 м
Уменьшающаяся секция стрелы
Промежуточная секция лёгкой стрелы 6м
6 м
Промежуточная секция лёгкой стрелы 6м
Промежуточная секция башенной стрелы 6м
6 м
Промежуточная секция башенной стрелы 6м
Клиновидная секция башенной стрелы
7.5 м
Клиновидная секция башенной стрелы
Промежуточная секция стрелы 6м
6 м
Промежуточная секция стрелы 6м
Промежуточная секция стрелы 12м C
12 м
Промежуточная секция стрелы 12м C
Промежуточная секция стрелы 12м A
12 м
Промежуточная секция стрелы 12м A
Промежуточная секция башенной стрелы 12м B
12 м
Промежуточная секция башенной стрелы 12м B
Промежуточная секция стрелы 12м B
12 м
Промежуточная секция стрелы 12м B
ТЕХНИЧЕСКИЕ ХАРАКТЕРИСТИКИ КРАНА (РАБОЧИЙ РЕЖИМ ТЯЖЕЛО - ЛЕГКОЙ СМЕШЕННОЙ СТРЕЛЫ + СУПЕР-ПОДЪЕМНАЯ МАЧТА + СУПЕР- ПОДЪЕМНЫЙ КОНТРГРУЗ)

ТЕХНИЧЕСКИЕ ХАРАКТЕРИСТИКИ КРАНА (РАБОЧИЙ РЕЖИМ ТЯЖЕЛО - ЛЕГКОЙ СМЕШЕННОЙ СТРЕЛЫ + СУПЕР-ПОДЪЕМНАЯ МАЧТА + СУПЕР- ПОДЪЕМНЫЙ КОНТРГРУЗ)

Комбинации основной стрелы

78 м
Основание стрелы (ZB1-1) -> 10.5 Промежуточная секция стрелы 12м C (ZB12-C-1) -> 12 Промежуточная секция стрелы 12м A (ZB12-A-1) -> 12 Промежуточная секция стрелы 6м (ZB2-1) -> 6 Промежуточная секция стрелы 6м (ZB2-1) -> 6 Уменьшающаяся секция стрелы (ZB4-1) -> 12 Промежуточная секция лёгкой стрелы 6м (HTT) -> 6 Промежуточная секция башенной стрелы 6м (TB3) -> 6 Клиновидная секция башенной стрелы (TB4) -> 7.5
84 м
Основание стрелы (ZB1-1) -> 10.5 Промежуточная секция стрелы 12м C (ZB12-C-1) -> 12 Промежуточная секция стрелы 12м A (ZB12-A-1) -> 12 Промежуточная секция стрелы 6м (ZB2-1) -> 6 Промежуточная секция стрелы 6м (ZB2-1) -> 6 Уменьшающаяся секция стрелы (ZB4-1) -> 12 Промежуточная секция лёгкой стрелы 6м (HTT) -> 6 Промежуточная секция башенной стрелы 6м (TB3) -> 6 Промежуточная секция башенной стрелы 6м (TB3) -> 6 Клиновидная секция башенной стрелы (TB4) -> 7.5
90 м
Основание стрелы (ZB1-1) -> 10.5 Промежуточная секция стрелы 12м C (ZB12-C-1) -> 12 Промежуточная секция стрелы 12м A (ZB12-A-1) -> 12 Промежуточная секция стрелы 6м (ZB2-1) -> 6 Промежуточная секция стрелы 6м (ZB2-1) -> 6 Уменьшающаяся секция стрелы (ZB4-1) -> 12 Промежуточная секция лёгкой стрелы 6м (HTT) -> 6 Промежуточная секция башенной стрелы 6м (TB3) -> 6 Промежуточная секция башенной стрелы 12м B (TB12-B) -> 12 Клиновидная секция башенной стрелы (TB4) -> 7.5
96 м
Основание стрелы (ZB1-1) -> 10.5 Промежуточная секция стрелы 12м C (ZB12-C-1) -> 12 Промежуточная секция стрелы 12м A (ZB12-A-1) -> 12 Промежуточная секция стрелы 6м (ZB2-1) -> 6 Промежуточная секция стрелы 6м (ZB2-1) -> 6 Промежуточная секция стрелы 12м B (ZB12-B-1) -> 12 Уменьшающаяся секция стрелы (ZB4-1) -> 12 Промежуточная секция лёгкой стрелы 6м (HTT) -> 6 Промежуточная секция башенной стрелы 12м B (TB12-B) -> 12 Клиновидная секция башенной стрелы (TB4) -> 7.5
102 м
Основание стрелы (ZB1-1) -> 10.5 Промежуточная секция стрелы 12м C (ZB12-C-1) -> 12 Промежуточная секция стрелы 12м A (ZB12-A-1) -> 12 Промежуточная секция стрелы 6м (ZB2-1) -> 6 Промежуточная секция стрелы 6м (ZB2-1) -> 6 Промежуточная секция стрелы 12м B (ZB12-B-1) -> 12 Уменьшающаяся секция стрелы (ZB4-1) -> 12 Промежуточная секция лёгкой стрелы 6м (HTT) -> 6 Промежуточная секция башенной стрелы 6м (TB3) -> 6 Промежуточная секция башенной стрелы 12м B (TB12-B) -> 12 Клиновидная секция башенной стрелы (TB4) -> 7.5
108 м
Основание стрелы (ZB1-1) -> 10.5 Промежуточная секция стрелы 12м C (ZB12-C-1) -> 12 Промежуточная секция стрелы 12м A (ZB12-A-1) -> 12 Промежуточная секция стрелы 6м (ZB2-1) -> 6 Промежуточная секция стрелы 6м (ZB2-1) -> 6 Промежуточная секция стрелы 12м B (ZB12-B-1) -> 12 Уменьшающаяся секция стрелы (ZB4-1) -> 12 Промежуточная секция лёгкой стрелы 6м (HTT) -> 6 Промежуточная секция башенной стрелы 6м (TB3) -> 6 Промежуточная секция башенной стрелы 12м B (TB12-B) -> 12 Промежуточная секция башенной стрелы 6м (TB3) -> 6 Клиновидная секция башенной стрелы (TB4) -> 7.5

Размеры секций основной стрелы

Знак
Длинна стрелы
Примечание
Основание стрелы
10.5 м
Основание стрелы
Промежуточная секция стрелы 12м C
12 м
Промежуточная секция стрелы 12м C
Промежуточная секция стрелы 12м A
12 м
Промежуточная секция стрелы 12м A
Промежуточная секция стрелы 6м
6 м
Промежуточная секция стрелы 6м
Уменьшающаяся секция стрелы
12 м
Уменьшающаяся секция стрелы
Промежуточная секция лёгкой стрелы 6м
6 м
Промежуточная секция лёгкой стрелы 6м
Промежуточная секция башенной стрелы 6м
6 м
Промежуточная секция башенной стрелы 6м
Клиновидная секция башенной стрелы
7.5 м
Клиновидная секция башенной стрелы
Промежуточная секция башенной стрелы 12м B
12 м
Промежуточная секция башенной стрелы 12м B
Промежуточная секция стрелы 12м B
12 м
Промежуточная секция стрелы 12м B
ТЕХНИЧЕСКИЕ ХАРАКТЕРИСТИКИ КРАНА (РЕЖИМ ОСНОВНОЙ СТРЕЛЫ ВЕТРО-ЭЛЕКТРИЧЕСКОГО ИСПОЛЬЗОВАНИЯ)

ТЕХНИЧЕСКИЕ ХАРАКТЕРИСТИКИ КРАНА (РЕЖИМ ОСНОВНОЙ СТРЕЛЫ ВЕТРО-ЭЛЕКТРИЧЕСКОГО ИСПОЛЬЗОВАНИЯ)

Комбинации основной стрелы

37 м
Основание стрелы (ZB1-1) -> 10.5 Промежуточная секция стрелы 6м (ZB2-1) -> 6 Уменьшающаяся секция стрелы (ZB4-1) -> 12 Оголовок стрелы (ZB5-H6) -> 8.5
43 м
Основание стрелы (ZB1-1) -> 10.5 Промежуточная секция стрелы 6м (ZB2-1) -> 6 Промежуточная секция стрелы 6м (ZB2-1) -> 6 Уменьшающаяся секция стрелы (ZB4-1) -> 12 Оголовок стрелы (ZB5-H6) -> 8.5
49 м
Основание стрелы (ZB1-1) -> 10.5 Промежуточная секция стрелы 12м C (ZB12-C-1) -> 12 Промежуточная секция стрелы 6м (ZB2-1) -> 6 Уменьшающаяся секция стрелы (ZB4-1) -> 12 Оголовок стрелы (ZB5-H6) -> 8.5
55 м
Основание стрелы (ZB1-1) -> 10.5 Промежуточная секция стрелы 12м C (ZB12-C-1) -> 12 Промежуточная секция стрелы 6м (ZB2-1) -> 6 Промежуточная секция стрелы 6м (ZB2-1) -> 6 Уменьшающаяся секция стрелы (ZB4-1) -> 12 Оголовок стрелы (ZB5-H6) -> 8.5
61 м
Основание стрелы (ZB1-1) -> 10.5 Промежуточная секция стрелы 12м C (ZB12-C-1) -> 12 Промежуточная секция стрелы 12м A (ZB12-A-1) -> 12 Промежуточная секция стрелы 6м (ZB2-1) -> 6 Уменьшающаяся секция стрелы (ZB4-1) -> 12 Оголовок стрелы (ZB5-H6) -> 8.5
67 м
Основание стрелы (ZB1-1) -> 10.5 Промежуточная секция стрелы 12м C (ZB12-C-1) -> 12 Промежуточная секция стрелы 12м A (ZB12-A-1) -> 12 Промежуточная секция стрелы 6м (ZB2-1) -> 6 Промежуточная секция стрелы 6м (ZB2-1) -> 6 Уменьшающаяся секция стрелы (ZB4-1) -> 12 Оголовок стрелы (ZB5-H6) -> 8.5
73 м
Основание стрелы (ZB1-1) -> 10.5 Промежуточная секция стрелы 12м C (ZB12-C-1) -> 12 Промежуточная секция стрелы 12м A (ZB12-A-1) -> 12 Промежуточная секция стрелы 6м (ZB2-1) -> 6 Промежуточная секция стрелы 12м B (ZB12-B-1) -> 12 Уменьшающаяся секция стрелы (ZB4-1) -> 12 Оголовок стрелы (ZB5-H6) -> 8.5
79 м
Основание стрелы (ZB1-1) -> 10.5 Промежуточная секция стрелы 12м C (ZB12-C-1) -> 12 Промежуточная секция стрелы 12м A (ZB12-A-1) -> 12 Промежуточная секция стрелы 6м (ZB2-1) -> 6 Промежуточная секция стрелы 6м (ZB2-1) -> 6 Промежуточная секция стрелы 12м B (ZB12-B-1) -> 12 Уменьшающаяся секция стрелы (ZB4-1) -> 12 Оголовок стрелы (ZB5-H6) -> 8.5
85 м
Основание стрелы (ZB1-1) -> 10.5 Промежуточная секция стрелы 12м C (ZB12-C-1) -> 12 Промежуточная секция стрелы 12м A (ZB12-A-1) -> 12 Промежуточная секция стрелы 6м (ZB2-1) -> 6 Промежуточная секция стрелы 12м B (ZB12-B-1) -> 12 Промежуточная секция стрелы 12м B (ZB12-B-1) -> 12 Уменьшающаяся секция стрелы (ZB4-1) -> 12 Оголовок стрелы (ZB5-H6) -> 8.5
91 м
Основание стрелы (ZB1-1) -> 10.5 Промежуточная секция стрелы 12м C (ZB12-C-1) -> 12 Промежуточная секция стрелы 12м A (ZB12-A-1) -> 12 Промежуточная секция стрелы 6м (ZB2-1) -> 6 Промежуточная секция стрелы 6м (ZB2-1) -> 6 Промежуточная секция стрелы 12м B (ZB12-B-1) -> 12 Промежуточная секция стрелы 12м B (ZB12-B-1) -> 12 Уменьшающаяся секция стрелы (ZB4-1) -> 12 Оголовок стрелы (ZB5-H6) -> 8.5

Размеры секций основной стрелы

Знак
Длинна стрелы
Примечание
Основание стрелы
10.5 м
Основание стрелы
Промежуточная секция стрелы 6м
6 м
Промежуточная секция стрелы 6м
Уменьшающаяся секция стрелы
12 м
Уменьшающаяся секция стрелы
Оголовок стрелы
8.5 м
Оголовок стрелы
Промежуточная секция стрелы 12м C
12 м
Промежуточная секция стрелы 12м C
Промежуточная секция стрелы 12м A
12 м
Промежуточная секция стрелы 12м A
Промежуточная секция стрелы 12м B
12 м
Промежуточная секция стрелы 12м B
ТЕХНИЧЕСКИЕ ХАРАКТЕРИСТИКИ КРАНА (РЕЖИМ РАБОТЫ ТЯЖЕЛОЙ ОСНОВНОЙ СТРЕЛЫ СО СТАЦИОНАРНЫМ ГУСЬКОМ)

ТЕХНИЧЕСКИЕ ХАРАКТЕРИСТИКИ КРАНА (РЕЖИМ РАБОТЫ ТЯЖЕЛОЙ ОСНОВНОЙ СТРЕЛЫ СО СТАЦИОНАРНЫМ ГУСЬКОМ)

Комбинации основной стрелы

30 м
Основание стрелы (ZB1) -> 10.5 Промежуточная секция стрелы 6м (ZB2) -> 6 Уменьшающаяся секция стрелы (ZB4) -> 12 Оголовок стрелы (ZB5) -> 1.5
36 м
Основание стрелы (ZB1) -> 10.5 Промежуточная секция стрелы 6м (ZB2) -> 6 Промежуточная секция стрелы 6м (ZB2) -> 6 Уменьшающаяся секция стрелы (ZB4) -> 12 Оголовок стрелы (ZB5) -> 1.5
42 м
Основание стрелы (ZB1) -> 10.5 Промежуточная секция стрелы 12м C (ZB12-C) -> 12 Промежуточная секция стрелы 6м (ZB2) -> 6 Уменьшающаяся секция стрелы (ZB4) -> 12 Оголовок стрелы (ZB5) -> 1.5
48 м
Основание стрелы (ZB1) -> 10.5 Промежуточная секция стрелы 12м C (ZB12-C) -> 12 Промежуточная секция стрелы 6м (ZB2) -> 6 Промежуточная секция стрелы 6м (ZB2) -> 6 Уменьшающаяся секция стрелы (ZB4) -> 12 Оголовок стрелы (ZB5) -> 1.5
54 м
Основание стрелы (ZB1) -> 10.5 Промежуточная секция стрелы 12м C (ZB12-C) -> 12 Промежуточная секция стрелы 12м A (ZB12-A) -> 12 Промежуточная секция стрелы 6м (ZB2) -> 6 Уменьшающаяся секция стрелы (ZB4) -> 12 Оголовок стрелы (ZB5) -> 1.5
60 м
Основание стрелы (ZB1) -> 10.5 Промежуточная секция стрелы 12м C (ZB12-C) -> 12 Промежуточная секция стрелы 12м A (ZB12-A) -> 12 Промежуточная секция стрелы 6м (ZB2) -> 6 Промежуточная секция стрелы 6м (ZB2) -> 6 Уменьшающаяся секция стрелы (ZB4) -> 12 Оголовок стрелы (ZB5) -> 1.5
66 м
Основание стрелы (ZB1) -> 10.5 Промежуточная секция стрелы 12м C (ZB12-C) -> 12 Промежуточная секция стрелы 12м A (ZB12-A) -> 12 Промежуточная секция стрелы 6м (ZB2) -> 6 Промежуточная секция стрелы 12м B (ZB12-B) -> 12 Уменьшающаяся секция стрелы (ZB4) -> 12 Оголовок стрелы (ZB5) -> 1.5
72 м
Основание стрелы (ZB1) -> 10.5 Промежуточная секция стрелы 12м C (ZB12-C) -> 12 Промежуточная секция стрелы 12м A (ZB12-A) -> 12 Промежуточная секция стрелы 6м (ZB2) -> 6 Промежуточная секция стрелы 6м (ZB2) -> 6 Промежуточная секция стрелы 12м B (ZB12-B) -> 12 Уменьшающаяся секция стрелы (ZB4) -> 12 Оголовок стрелы (ZB5) -> 1.5
78 м
Основание стрелы (ZB1) -> 10.5 Промежуточная секция стрелы 12м C (ZB12-C) -> 12 Промежуточная секция стрелы 12м A (ZB12-A) -> 12 Промежуточная секция стрелы 6м (ZB2) -> 6 Промежуточная секция стрелы 12м B (ZB12-B) -> 12 Промежуточная секция стрелы 12м B (ZB12-B) -> 12 Уменьшающаяся секция стрелы (ZB4) -> 12 Оголовок стрелы (ZB5) -> 1.5
84 м
Основание стрелы (ZB1) -> 10.5 Промежуточная секция стрелы 12м C (ZB12-C) -> 12 Промежуточная секция стрелы 12м A (ZB12-A) -> 12 Промежуточная секция стрелы 6м (ZB2) -> 6 Промежуточная секция стрелы 6м (ZB2) -> 6 Промежуточная секция стрелы 12м B (ZB12-B) -> 12 Промежуточная секция стрелы 12м B (ZB12-B) -> 12 Уменьшающаяся секция стрелы (ZB4) -> 12 Оголовок стрелы (ZB5) -> 1.5

Размеры секций основной стрелы

Знак
Длинна стрелы
Примечание
Основание стрелы
10.5 м
Основание стрелы
Уменьшающаяся секция стрелы
12 м
Уменьшающаяся секция стрелы
Оголовок стрелы
1.5 м
Оголовок стрелы
Промежуточная секция стрелы 6м
6 м
Промежуточная секция стрелы 6м
Промежуточная секция стрелы 12м C
12 м
Промежуточная секция стрелы 12м C
Промежуточная секция стрелы 12м A
12 м
Промежуточная секция стрелы 12м A
Промежуточная секция стрелы 12м B
12 м
Промежуточная секция стрелы 12м B

Комбинации стационарного гуська

18 м
Основание стационарного гуська (F1) -> 4.5 Промежуточная секция стационарного гуська 6м (F3) -> 6 Промежуточная секция стационарного гуська 6м (F3) -> 6
24 м
Основание стационарного гуська (F1) -> 4.5 Промежуточная стационарного гуська 12м (F2) -> 12 Промежуточная секция стационарного гуська 6м (F3) -> 6
30 м
Основание стационарного гуська (F1) -> 4.5 Промежуточная стационарного гуська 12м (F2) -> 12 Промежуточная секция стационарного гуська 6м (F3) -> 6 Клиновидная стационарного гуська 7.5м (F4) -> 7.5

Размеры секций стационарного гуська

Знак
Длинна стрелы
Примечание
Основание стационарного гуська
4.5 м
Основание стационарного гуська
Промежуточная секция стационарного гуська 6м
6 м
Промежуточная секция стационарного гуська 6м
Промежуточная стационарного гуська 12м
12 м
Промежуточная стационарного гуська 12м
Клиновидная стационарного гуська 7.5м
7.5 м
Клиновидная стационарного гуська 7.5м
ТЕХНИЧЕСКИЕ ХАРАКТЕРИСТИКИ КРАНА (РЕЖИМ РАБОТЫ ТЯЖЕЛОЙ ОСНОВНОЙ СТРЕЛЫ + УПРАВЛЯЕМЫЙ ГУСЕК (БАШЕННАЯ СТРЕЛА))

ТЕХНИЧЕСКИЕ ХАРАКТЕРИСТИКИ КРАНА (РЕЖИМ РАБОТЫ ТЯЖЕЛОЙ ОСНОВНОЙ СТРЕЛЫ + УПРАВЛЯЕМЫЙ ГУСЕК (БАШЕННАЯ СТРЕЛА))

Комбинации основной стрелы в башенном рабочем режиме (HT)

30 м
Основание стрелы (ZB1) -> 10.5 Промежуточная секция стрелы 6м (ZB2) -> 6 Уменьшающаяся секция стрелы (ZB4) -> 12 Оголовок стрелы (ZB5) -> 1.5
36 м
Основание стрелы (ZB1) -> 10.5 Промежуточная секция стрелы 6м (ZB2) -> 6 Промежуточная секция стрелы 6м (ZB2) -> 6 Уменьшающаяся секция стрелы (ZB4) -> 12 Оголовок стрелы (ZB5) -> 1.5
42 м
Основание стрелы (ZB1) -> 10.5 Промежуточная секция стрелы 12м C (ZB12-C) -> 12 Промежуточная секция стрелы 6м (ZB2) -> 6 Уменьшающаяся секция стрелы (ZB4) -> 12 Оголовок стрелы (ZB5) -> 1.5
48 м
Основание стрелы (ZB1) -> 10.5 Промежуточная секция стрелы 12м C (ZB12-C) -> 12 Промежуточная секция стрелы 6м (ZB2) -> 6 Промежуточная секция стрелы 6м (ZB2) -> 6 Уменьшающаяся секция стрелы (ZB4) -> 12 Оголовок стрелы (ZB5) -> 1.5
54 м
Основание стрелы (ZB1) -> 10.5 Промежуточная секция стрелы 12м C (ZB12-C) -> 12 Промежуточная секция стрелы 12м A (ZB12-A) -> 12 Промежуточная секция стрелы 6м (ZB2) -> 6 Уменьшающаяся секция стрелы (ZB4) -> 12 Оголовок стрелы (ZB5) -> 1.5
60 м
Основание стрелы (ZB1) -> 10.5 Промежуточная секция стрелы 12м C (ZB12-C) -> 12 Промежуточная секция стрелы 12м A (ZB12-A) -> 12 Промежуточная секция стрелы 6м (ZB2) -> 6 Промежуточная секция стрелы 6м (ZB2) -> 6 Уменьшающаяся секция стрелы (ZB4) -> 12 Оголовок стрелы (ZB5) -> 1.5
66 м
Основание стрелы (ZB1) -> 10.5 Промежуточная секция стрелы 12м C (ZB12-C) -> 12 Промежуточная секция стрелы 12м A (ZB12-A) -> 12 Промежуточная секция стрелы 6м (ZB2) -> 6 Промежуточная секция стрелы 12м B (ZB12-B) -> 12 Уменьшающаяся секция стрелы (ZB4) -> 12 Оголовок стрелы (ZB5) -> 1.5
72 м
Основание стрелы (ZB1) -> 10.5 Промежуточная секция стрелы 12м C (ZB12-C) -> 12 Промежуточная секция стрелы 12м A (ZB12-A) -> 12 Промежуточная секция стрелы 6м (ZB2) -> 6 Промежуточная секция стрелы 6м (ZB2) -> 6 Промежуточная секция стрелы 12м B (ZB12-B) -> 12 Уменьшающаяся секция стрелы (ZB4) -> 12 Оголовок стрелы (ZB5) -> 1.5

Размеры секций основной стрелы

Знак
Длинна стрелы
Примечание
Основание стрелы
10.5 м
Основание стрелы
Уменьшающаяся секция стрелы
12 м
Уменьшающаяся секция стрелы
Оголовок стрелы
1.5 м
Оголовок стрелы
Промежуточная секция стрелы 6м
6 м
Промежуточная секция стрелы 6м
Промежуточная секция стрелы 12м C
12 м
Промежуточная секция стрелы 12м C
Промежуточная секция стрелы 12м A
12 м
Промежуточная секция стрелы 12м A
Промежуточная секция стрелы 12м B
12 м
Промежуточная секция стрелы 12м B

Комбинации башенной стрелы в башенном рабочем режиме (HT)

24 м
Основание башенной стрелы 4.5 м (TB1) -> 4,5 Промежуточная секция башенной стрелы 12м A (TB12-A) -> 12 Клиновидная секция башенной стрелы (TB4) -> 7.5
30 м
Основание башенной стрелы 4.5 м (TB1) -> 4,5 Промежуточная секция башенной стрелы 12м A (TB12-A) -> 12 Промежуточная секция башенной стрелы 6м (TB3) -> 6 Клиновидная секция башенной стрелы (TB4) -> 7.5
36 м
Основание башенной стрелы 4.5 м (TB1) -> 4,5 Промежуточная секция башенной стрелы 12м A (TB12-A) -> 12 Промежуточная секция башенной стрелы 6м (TB3) -> 6 Промежуточная секция башенной стрелы 6м (TB3) -> 6 Клиновидная секция башенной стрелы (TB4) -> 7.5
42 м
Основание башенной стрелы 4.5 м (TB1) -> 4,5 Промежуточная секция башенной стрелы 12м A (TB12-A) -> 12 Промежуточная секция башенной стрелы 12м B (TB12-B) -> 12 Промежуточная секция башенной стрелы 6м (TB3) -> 6 Клиновидная секция башенной стрелы (TB4) -> 7.5
48 м
Основание башенной стрелы 4.5 м (TB1) -> 4,5 Промежуточная секция башенной стрелы 12м A (TB12-A) -> 12 Промежуточная секция башенной стрелы 12м B (TB12-B) -> 12 Промежуточная секция башенной стрелы 6м (TB3) -> 6 Промежуточная секция башенной стрелы 6м (TB3) -> 6 Клиновидная секция башенной стрелы (TB4) -> 7.5
54 м
Основание башенной стрелы 4.5 м (TB1) -> 4,5 Промежуточная секция башенной стрелы 12м A (TB12-A) -> 12 Промежуточная секция башенной стрелы 12м B (TB12-B) -> 12 Промежуточная секция башенной стрелы 12м C (TB12-C) -> 12 Промежуточная секция башенной стрелы 6м (TB3) -> 6 Клиновидная секция башенной стрелы (TB4) -> 7.5
60 м
Основание башенной стрелы 4.5 м (TB1) -> 4,5 Промежуточная секция башенной стрелы 12м A (TB12-A) -> 12 Промежуточная секция башенной стрелы 12м B (TB12-B) -> 12 Промежуточная секция башенной стрелы 12м C (TB12-C) -> 12 Промежуточная секция башенной стрелы 6м (TB3) -> 6 Промежуточная секция башенной стрелы 6м (TB3) -> 6 Клиновидная секция башенной стрелы (TB4) -> 7.5
66 м
Основание башенной стрелы 4.5 м (TB1) -> 4,5 Промежуточная секция башенной стрелы 12м A (TB12-A) -> 12 Промежуточная секция башенной стрелы 12м B (TB12-B) -> 12 Промежуточная секция башенной стрелы 12м C (TB12-C) -> 12 Промежуточная секция башенной стрелы 6м (TB3) -> 6 Промежуточная секция башенной стрелы 12м B (TB12-B) -> 12 Клиновидная секция башенной стрелы (TB4) -> 7.5
72 м
Основание башенной стрелы 4.5 м (TB1) -> 4,5 Промежуточная секция башенной стрелы 12м A (TB12-A) -> 12 Промежуточная секция башенной стрелы 12м B (TB12-B) -> 12 Промежуточная секция башенной стрелы 12м C (TB12-C) -> 12 Промежуточная секция башенной стрелы 6м (TB3) -> 6 Промежуточная секция башенной стрелы 6м (TB3) -> 6 Промежуточная секция башенной стрелы 12м B (TB12-B) -> 12 Клиновидная секция башенной стрелы (TB4) -> 7.5

Размеры секций башенной стрелы

Знак
Длинна стрелы
Примечание
Основание башенной стрелы 4.5 м
4,5 м
Основание башенной стрелы 4.5 м
Промежуточная секция башенной стрелы 12м A
12 м
Промежуточная секция башенной стрелы 12м A
Клиновидная секция башенной стрелы
7.5 м
Клиновидная секция башенной стрелы
Промежуточная секция башенной стрелы 6м
6 м
Промежуточная секция башенной стрелы 6м
Промежуточная секция башенной стрелы 12м B
12 м
Промежуточная секция башенной стрелы 12м B
Промежуточная секция башенной стрелы 12м C
12 м
Промежуточная секция башенной стрелы 12м C